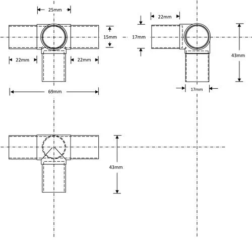
With four spigots to accept aluminium tubing, use to create large frameworks by fitting one length of tube as an upright and three lengths of tube as horizontals.
Manufactured from strong, black UV stabilised nylon.Â
Designed to fit tightly within a 17mm inside diameter tube, knock into place using a rubber or wooden mallet.Â
Learn more
Â















Reviews
There are no reviews yet.